Lộ thông tin Nissan Juke quay lại thị trường Việt
| Chùm ảnh chi tiết Nissan Navara 2021 Nissan Sunny 2021 sắp về Việt Nam, có thể đấu Accent? Chọn xe bán tải: Vì sao Nissan Navara 2021 đáng tiền? |
![]() |
Mới đây, Nissan Việt Nam vừa đăng ký bảo hộ kiểu dáng công nghiệp cho hai mẫu xe nhỏ đang được mong chờ về nước, đó là Nissan Almera (Nissan Sunny) và Nissan Juke có thể được bán ra ở thị trường nước ta trong thời gian tới.
Theo một số nguồn tin, Nissan Almera 2021 sẽ có 4 phiên bản (hai bản số sàn, hai bản số tự động), giá bán vẫn chưa được tiết lộ. Hiện một số đại lý đã bắt đầu nhận đặt cọc Almera, bản cao cấp nhất sẽ rẻ hơn khá nhiều so với đối thủ Toyota Vios và Honda City.
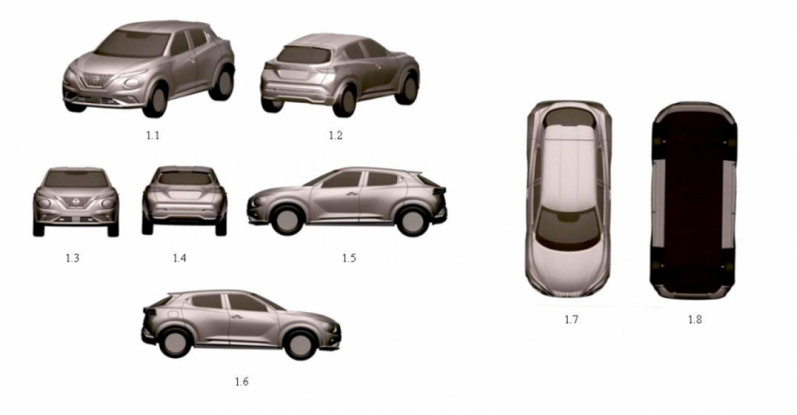
Trong khi đó, kiểu dáng mẫu crossover có ngoại hình độc lạ - Nissan Juke - đã được nộp đăng ký bảo hộ độc quyền vào ngày 9/10/2019 và cấp bằng vào ngày 7/4/2021.
Theo thiết kế sơ bộ, có thể thấy đây là thế hệ mới nhất của Juke ra mắt toàn cầu vào năm 2019. Phía trước xe vẫn tuân theo ngôn ngữ V Motion với lưới tản nhiệt được bao quanh bởi dải Chrome vắt ngang hình chữ V. Đèn pha được tách khỏi đèn LED chạy ban ngày, tương tự thiết kế của những mẫu xe gầm cao ra mắt trong thời gian gần đây.
![]() |
Kích thước Juke vẫn vậy, nhỏ hơn cả Almera, với các chiều dài x rộng x cao là 4.210 x 1.595 x 1.800 mm.
Nội thất Juke rộng rãi hơn trước, với khoảng để chân hàng ghế sau tăng 58 mm, để đầu tăng 11 mm, thể tích khoang hành lý tăng 20% lên 422 lít. Nội thất xe hiện đại với màn hình đặt nổi kích thước 8 inch. Vô-lăng Juke có thiết kế giống loại trên Almera.
Nissan Juke cũng dùng động cơ 3 xy lanh, dung tích 1.0L tăng áp như trên Almera, cho công suất lớn hơn, lên đến 115 mã lực. Hộp số ly hợp kép 7 cấp. Nhiều khả năng, xe sẽ được trang bị 6 túi khí và hệ thống cảnh báo điểm mù và cảnh báo va chạm phía sau.
Hiện chưa có thông tin thêm về mẫu xe Juke sẽ ra mắt trong thời gian nào. Nhưng mẫu SUV cỡ nhỏ này không mấy được ưa chuộng vì kiểu dáng độc và giá thành có phần chênh hơn các đối thủ khác trong thời gian phân phối trước.
Phiên bản giới hạn Porsche 911 Targa 4S Heritage Design được phân phối tại Việt Nam với giá bán 11,59 tỷ đồng. |
Trong năm tài chính 2021, Honda Việt Nam bán ra hơn 2,1 triệu xe máy, chiếm 78,6% thị phần xe máy trong nước. |
Thủ tướng Chính phủ giao chỉ đạo cơ quan đăng kiểm thực hiện dừng đăng kiểm đối với số xe chưa làm thủ tục chuyển ... |
Có thể bạn quan tâm
Khó khăn chồng chất, Nissan phải bán toà nhà trụ sở
Nissan và Mercedes sẽ đóng cửa nhà máy liên doanh
Chi tiết Nissan Skyline 400R Limited 2026 phiên bản giới hạn 400 xe
Nissan hé lộ SUV mới tên Tekton, đối đầu Creta và Seltos
Nissan rớt top 10 hãng xe bán chạy nhất toàn cầu, BYD và Geely thăng hạng
Cùng chuyên mục
Geely Galaxy A7 2026 trình làng, giá khởi điểm dưới 400 triệu đồng
Showroom tư nhân chào sớm Toyota Land Cruiser hybrid, kênh giá 700 triệu đồng
Vén màn Mitsubishi Outlander 2026 với động cơ hybrid mới
Xe điện Trung Quốc nằm bất động trên sân khấu trong lễ ra mắt
Đếm ngược ưu đãi tháng 4: VF 7 lăn bánh chỉ từ hơn 700 triệu đồng
Lynk & Co sắp bán xe điện đầu tiên tại Việt Nam, đại lý bắt đầu nhận cọc
Tin khác
Ô tô nhập khẩu vào Việt Nam quý I/2026: Trung Quốc chính thức vượt Thái Lan
Skoda Kodiaq 2026 lặng lẽ về đại lý Việt, thêm trang bị, giá tăng đến 148 triệu đồng
Vì sao VinFast VF 9 được giới doanh nhân ưu tiên hàng đầu cho hành trình dài?
5 mẫu xe gầm cao giá 300 triệu: 'Tiền ít thịt nhiều' cho người lần đầu mua ô tô


