Chery Omoda 5 đăng ký bản quyền tại Việt Nam, sẵn sàng đấu Beijing X7
| Xe ô tô Trung Quốc với tham vọng lớn chiếm lĩnh thị trường ViệtSau Hongqi, thương hiệu 'xe tàu' Chery sắp trở lại Việt Nam?Thương hiệu xe Chery sắp quay trở lại thị trường Việt Nam |
![]() |
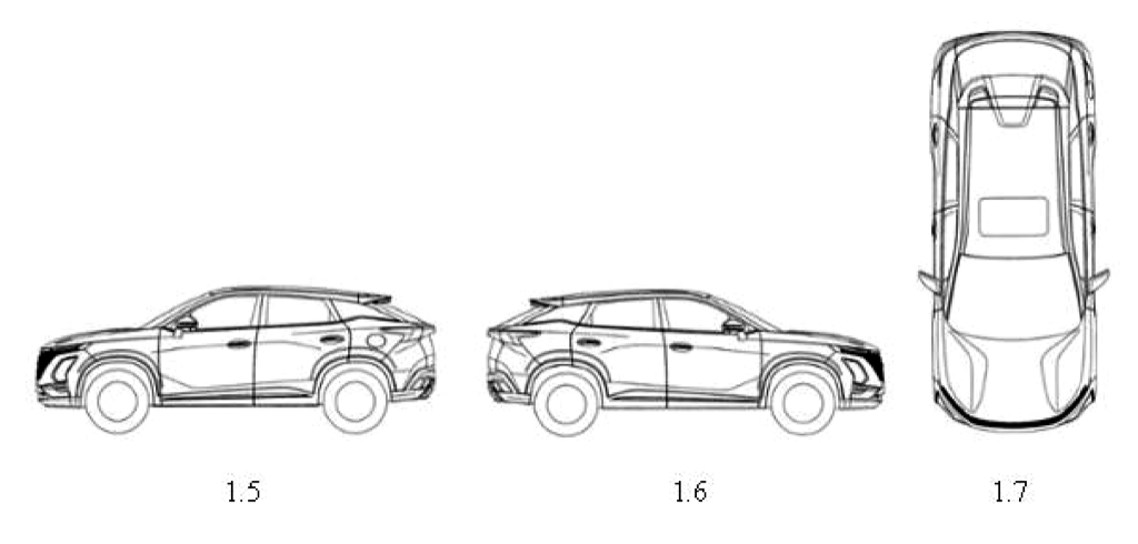
Theo công báo sở hữu kiểu dáng công nghiệp được Cục Sở hữu Trí tuệ Việt Nam đã ghi nhận thông tin về mẫu SUV mới đăng ký của thương hiệu xe Trung Quốc Chery. Mẫu xe được đăng ký tại Việt Nam là mẫu SUV 5 chỗ có tên Chery OMODA 5, ra mắt lần đầu tiên tại Triển lãm ô tô Quảng Châu 2021 và được thương mại hoá vào tháng 2/2022.
Việc Chery Omoda 5 được đăng ký bản quyền tại Việt Nam dù chưa hoàn toàn khẳng định mẫu xe này sẽ được phân phối. Tuy nhiên khả năng này là rất cao vì trong thời gian qua thương hiệu này đã xác nhận và có những động thái quay trở lại Việt Nam.
![]() |
Được ra mắt lần đầu tại triển lãm ô tô Quảng Châu năm 2021, Chery cũng tuyên bố Omoda 5 sẽ sớm có mặt tại các thị trường khác nhau trên Thế giới kể từ nửa đầu năm 2022. Cùng với những bản vẽ đăng ký bản quyền vừa được công bố, có vẻ như mẫu xe này sẽ là quân tiên phong trong kế hoạch quay trở lại thị trường Việt lần thứ 2 của Chery.
Chery OMODA 5 sở hữu ngôn ngữ thiết kế 'Art in Motion' mới của thương hiệu. Đặc biệt gây ấn tượng với cụm lưới tản nhiệt kích thước khổng lồ không viền, gợi liên tưởng tới Hyundai Tucson 2022. Toàn bộ hệ thống đèn chiếu sáng đều sử dụng công nghệ LED hiện đại.
Mẫu xe được trưng bày trang bị bộ mâm 18 inch sơn đen kết hợp với màu đối lập bên trong lòng mâm thể thao. Đuôi xe trang bị cụm đèn full LED mỏng và có hiệu ứng 3D tạo chiều sâu.
![]() |
Bên trong khoang nội thất, nổi bật với màn hình đôi kéo dài từ bảng đồng hồ qua màn hình giải trí kích thước 2x10,25 inch tương tự như xu hướng thiết kế của các mẫu xe hơi hiện nay. Xe được trang bị vô lăng 3 chấu D-Cut thể thao với tông màu đen chủ đạo bên trong khoang nội thất. Bảng taplo định hướng theo phương ngang, các chi tiết khác như loa, tay nắm cửa, ốp cửa, bệ trung tâm được thiết kế bắt mắt.
Chery OMODA 5 được trang bị động cơ TGDI 4 xy lanh, 1.6 lít tăng áp sản sinh ra công suất tối đa 197 mã lực và mô men xoắn cực đại đạt 290Nm. Động cơ này được kết hợp với hộp số tự động ly hợp kép 7 cấp tiêu chuẩn và dẫn động cầu trước. Bên cạnh đó Chery cũng đã tính tới điện hoá và sẽ ra mắt một phiên bản hybrid xăng điện cho chiếc xe trong tương lai.
Chery là một trong những nhà sản xuất ô tô lớn tại Trung Quốc và đã có độ phủ tại nhiều thị trường nước ngoài. Tính đến năm 2021 là tròn 20 năm Chery thực hiện chiến lược toàn cầu. Và cho đến hiện tại, hãng đã có hoạt động kinh doanh tại hơn 80 quốc gia và khu vực.
Với việc mang OMODA 5 đến Việt Nam, Chery tham vọng 'đối đầu' với các đối thủ 'gai góc' như Hyundai Tucson hay Mazda CX-5 và cạnh tranh trực tiếp với đối thủ đồng hương Beijing X7.
Khi tham gia giao thông, với lỗi dừng đỗ ô tô sai quy định mức xử phạt cao nhất có thể lên tới 12 triệu ... |
Người điều khiển xe máy có hành vi dừng xe, đỗ xe không đúng quy định có mức xử phạt lên tới 5 triệu đồng |
Dưới đây là một số trường hợp xe ôtô sản xuất, lắp ráp trong nước và nhập khẩu mới sẽ được miễn kiểm tra, thử ... |
Có thể bạn quan tâm
Chery và Geely tăng tốc làm xe hybrid, thách thức vị trí thống trị của Toyota
Mazda CX-5 nhận ưu đãi hơn 40 triệu đồng trong tháng 4
Doanh số CUV cỡ C tháng 2/2026: "Bom tấn" Mitsubishi Destinator hạ nhiệt
Hyundai Thành Công ưu đãi mua xe tháng 2 lên tới 220 triệu đồng
Doanh số Hyundai tháng 1/2026: Creta dẫn đầu doanh số
Cùng chuyên mục
Hyundai Palisade 2026 ở Việt Nam giá dự kiến từ hơn 1,7 tỉ, máy hybrid mạnh hơn Santa Fe
Geely Galaxy A7 2026 trình làng, giá khởi điểm dưới 400 triệu đồng
Showroom tư nhân chào sớm Toyota Land Cruiser hybrid, kênh giá 700 triệu đồng
Vén màn Mitsubishi Outlander 2026 với động cơ hybrid mới
Xe điện Trung Quốc nằm bất động trên sân khấu trong lễ ra mắt
Đếm ngược ưu đãi tháng 4: VF 7 lăn bánh chỉ từ hơn 700 triệu đồng
Tin khác
Lynk & Co sắp bán xe điện đầu tiên tại Việt Nam, đại lý bắt đầu nhận cọc
Ô tô nhập khẩu vào Việt Nam quý I/2026: Trung Quốc chính thức vượt Thái Lan
Skoda Kodiaq 2026 lặng lẽ về đại lý Việt, thêm trang bị, giá tăng đến 148 triệu đồng
Vì sao VinFast VF 9 được giới doanh nhân ưu tiên hàng đầu cho hành trình dài?



